封装  塑料封装
  封装类型  带透镜,透明
  类型  低电压工作,集电极开路输出,光入射输出L电平
  工作温度  -30到85 ℃
  存储温度  -40到100 ℃
  测试条件  除非注明,均为典型值,Ta=25 ℃

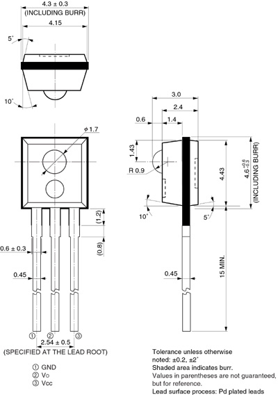
外形图(单位:mm)