上海瀚宇的包层功率剥离器(Cladding Power Stripper)具有独特的光学性能。这种器件能够吸收在双包层光纤中内包层部分传输的光。双包层光纤中大数值孔径(>/=0.46)的内包层和小数值孔径(可达0.06)纤芯形成的光波导传输的光都可以被包层功率剥离器“吸收”。而在纤芯中传输的信号光能够被很好的保持,包括信号光功率和光束质量因子(M2)。
上海瀚宇的包层功率剥离器(Cladding Power Stripper)是双包层光纤激光器/光纤放大器中用于去除包层残留泵浦光,从纤芯泄漏到内包层中传输的ASE光以及高阶模式信号光的理想器件。本资料中展示了标准的包层功率剥离器产品,公司还可以根据客户要求定制不同光纤类型的产品,如果您有特定的要求,请联系我们的销售人员。
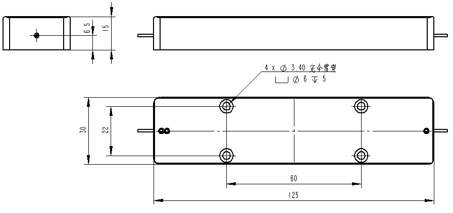
高功率CPS外形及安装尺寸 中功率CPS外形及安装尺寸

使用说明
• 包层光剥离器不具备存储较高功率的能力。请安装在主动冷却 的冷板上,并使用导热材料填充剥离器和冷板之间的缝隙,以减少热阻。
• 包层光剥离器有一定的方向性,请按产品标识中的方向使用。
• 包层光剥离器内部的光纤经过特殊处理,切勿碰撞
• 公司还可以根据客户要求定制不同光纤类型的产品,如果您有特定的要求,请联系我们的销售人员。
订货信息
• CPS- XX/XXX -YYY-ZZ
• XX/XXX: 光纤纤芯直径/包层直径,10/125、20/400等
• YYY:纤芯数值孔径,三位数字描述,065:代表NA=0.065
• ZZ:代表封装, LP:低功率不锈钢管封装
MP:中功率金属盒封装,风冷
HP:高功率大金属盒封装,风冷
XP:高功率大金属盒封装,水冷
• LL/LL:输入输出光纤长度
05:代表0.5米 , 10:代表1.0米
例如:05/10代表输入光纤长度0.5米,输出光纤长度1.0米
• 高功率承受能力
• 高功率吸收
• 最小的信号功率损耗
• 满足RoHS标准
• 高功率光纤激光器
• MOPA结构高功率光纤放大器
• 多级双包层光纤放大器
• 其他科研实验领域